



Abstract:Alertness monitoring in the context of driving improves safety and saves lives. Computer vision based alertness monitoring is an active area of research. However, the algorithms and datasets that exist for alertness monitoring are primarily aimed at younger adults (18-50 years old). We present a system for in-vehicle alertness monitoring for older adults. Through a design study, we ascertained the variables and parameters that are suitable for older adults traveling independently in Level 5 vehicles. We implemented a prototype traveler monitoring system and evaluated the alertness detection algorithm on ten older adults (70 years and older). We report on the system design and implementation at a level of detail that is suitable for the beginning researcher or practitioner. Our study suggests that dataset development is the foremost challenge for developing alertness monitoring systems targeted at older adults. This study is the first of its kind for a hitherto under-studied population and has implications for future work on algorithm development and system design through participatory methods.




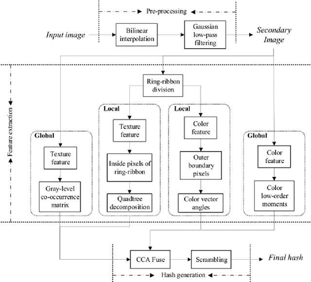
Abstract:In this paper, a novel perceptual image hashing scheme for color images is proposed based on ring-ribbon quadtree and color vector angle. First, original image is subjected to normalization and Gaussian low-pass filtering to produce a secondary image, which is divided into a series of ring-ribbons with different radii and the same number of pixels. Then, both textural and color features are extracted locally and globally. Quadtree decomposition (QD) is applied on luminance values of the ring-ribbons to extract local textural features, and the gray level co-occurrence matrix (GLCM) is used to extract global textural features. Local color features of significant corner points on outer boundaries of ring-ribbons are extracted through color vector angles (CVA), and color low-order moments (CLMs) is utilized to extract global color features. Finally, two types of feature vectors are fused via canonical correlation analysis (CCA) to prodcue the final hash after scrambling. Compared with direct concatenation, the CCA feature fusion method improves classification performance, which better reflects overall correlation between two sets of feature vectors. Receiver operating characteristic (ROC) curve shows that our scheme has satisfactory performances with respect to robustness, discrimination and security, which can be effectively used in copy detection and content authentication.




Abstract:Visual noise is often regarded as a disturbance in image quality, whereas it can also provide a crucial clue for image-based forensic tasks. Conventionally, noise is assumed to comprise an additive Gaussian model to be estimated and then used to reveal anomalies. However, for real sensor noise, it should be modeled as signal-dependent noise (SDN). In this work, we apply SDN to splicing forgery localization tasks. Through statistical analysis of the SDN model, we assume that noise can be modeled as a Gaussian approximation for a certain brightness and propose a likelihood model for a noise level function. By building a maximum a posterior Markov random field (MAP-MRF) framework, we exploit the likelihood of noise to reveal the alien region of spliced objects, with a probability combination refinement strategy. To ensure a completely blind detection, an iterative alternating method is adopted to estimate the MRF parameters. Experimental results demonstrate that our method is effective and provides a comparative localization performance.