

Abstract:MusicGen is a music generation language model (LM) that can be conditioned on textual descriptions and melodic features. We introduce MusicGen-Chord, which extends this capability by incorporating chord progression features. This model modifies one-hot encoded melody chroma vectors into multi-hot encoded chord chroma vectors, enabling the generation of music that reflects both chord progressions and textual descriptions. Furthermore, we developed MusicGen-Remixer, an application utilizing MusicGen-Chord to generate remixes of input music conditioned on textual descriptions. Both models are integrated into Replicate's web-UI using cog, facilitating broad accessibility and user-friendly controllable interaction for creating and experiencing AI-generated music.



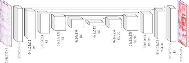
Abstract:Music source separation in the time-frequency domain is commonly achieved by applying a soft or binary mask to the magnitude component of (complex) spectrograms. The phase component is usually not estimated, but instead copied from the mixture and applied to the magnitudes of the estimated isolated sources. While this method has several practical advantages, it imposes an upper bound on the performance of the system, where the estimated isolated sources inherently exhibit audible "phase artifacts". In this paper we address these shortcomings by directly estimating masks in the complex domain, extending recent work from the speech enhancement literature. The method is particularly well suited for multi-instrument musical source separation since residual phase artifacts are more pronounced for spectrally overlapping instrument sources, a common scenario in music. We show that complex masks result in better separation than masks that operate solely on the magnitude component.