


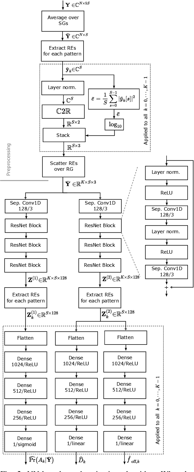
We propose a neural network (NN)-based algorithm for device detection and time of arrival (ToA) and carrier frequency offset (CFO) estimation for the narrowband physical random-access channel (NPRACH) of narrowband internet of things (NB-IoT). The introduced NN architecture leverages residual convolutional networks as well as knowledge of the preamble structure of the 5G New Radio (5G NR) specifications. Benchmarking on a 3rd Generation Partnership Project (3GPP) urban microcell (UMi) channel model with random drops of users against a state-of-the-art baseline shows that the proposed method enables up to 8 dB gains in false negative rate (FNR) as well as significant gains in false positive rate (FPR) and ToA and CFO estimation accuracy. Moreover, our simulations indicate that the proposed algorithm enables gains over a wide range of channel conditions, CFOs, and transmission probabilities. The introduced synchronization method operates at the base station (BS) and, therefore, introduces no additional complexity on the user devices. It could lead to an extension of battery lifetime by reducing the preamble length or the transmit power.