



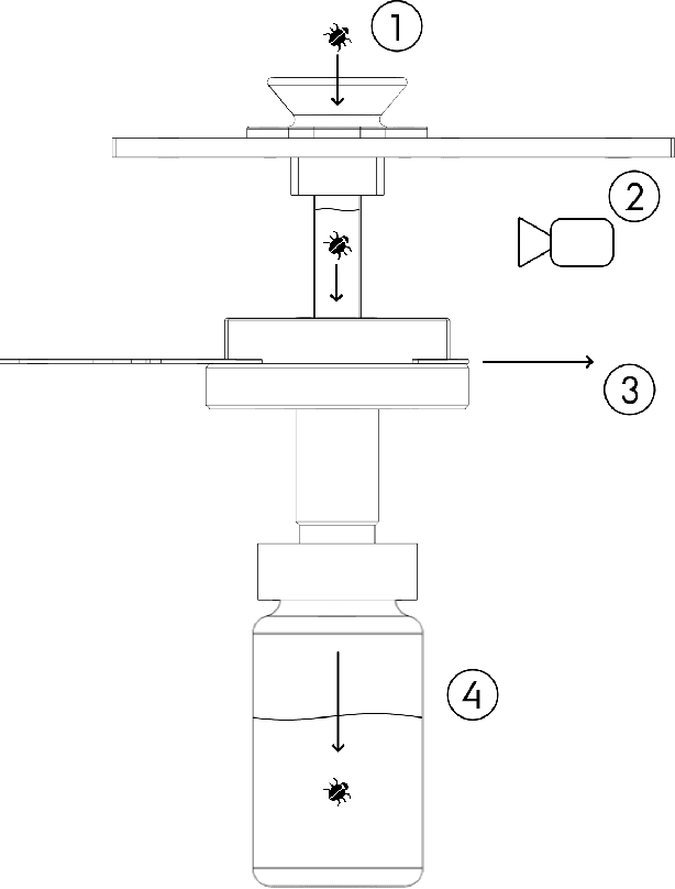
Understanding how biological communities respond to environmental changes is a key challenge in ecology and ecosystem management. The apparent decline of insect populations necessitates more biomonitoring but the time-consuming sorting and identification of taxa pose strong limitations on how many insect samples can be processed. In turn, this affects the scale of efforts to map invertebrate diversity altogether. Given recent advances in computer vision, we propose to replace the standard manual approach of human expert-based sorting and identification with an automatic image-based technology. We describe a robot-enabled image-based identification machine, which can automate the process of invertebrate identification, biomass estimation and sample sorting. We use the imaging device to generate a comprehensive image database of terrestrial arthropod species. We use this database to test the classification accuracy i.e. how well the species identity of a specimen can be predicted from images taken by the machine. We also test sensitivity of the classification accuracy to the camera settings (aperture and exposure time) in order to move forward with the best possible image quality. We use state-of-the-art Resnet-50 and InceptionV3 CNNs for the classification task. The results for the initial dataset are very promising ($\overline{ACC}=0.980$). The system is general and can easily be used for other groups of invertebrates as well. As such, our results pave the way for generating more data on spatial and temporal variation in invertebrate abundance, diversity and biomass.