



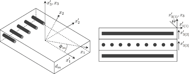
In this work, ultrasonic guided waves and a dual-branch version of convolutional neural networks are used to solve two different but related inverse problems, i.e., finding layup sequence type and identifying material properties. In the forward problem, polar group velocity representations are obtained for two fundamental Lamb wave modes using the stiffness matrix method. For the inverse problems, a supervised classification-based network is implemented to classify the polar representations into different layup sequence types (inverse problem - 1) and a regression-based network is utilized to identify the material properties (inverse problem - 2)