



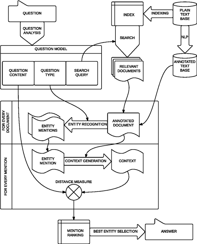
In this paper an open-domain factoid question answering system for Polish, RAFAEL, is presented. The system goes beyond finding an answering sentence; it also extracts a single string, corresponding to the required entity. Herein the focus is placed on different approaches to entity recognition, essential for retrieving information matching question constraints. Apart from traditional approach, including named entity recognition (NER) solutions, a novel technique, called Deep Entity Recognition (DeepER), is introduced and implemented. It allows a comprehensive search of all forms of entity references matching a given WordNet synset (e.g. an impressionist), based on a previously assembled entity library. It has been created by analysing the first sentences of encyclopaedia entries and disambiguation and redirect pages. DeepER also provides automatic evaluation, which makes possible numerous experiments, including over a thousand questions from a quiz TV show answered on the grounds of Polish Wikipedia. The final results of a manual evaluation on a separate question set show that the strength of DeepER approach lies in its ability to answer questions that demand answers beyond the traditional categories of named entities.