



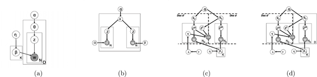
Latent topic models have been successfully applied as an unsupervised topic discovery technique in large document collections. With the proliferation of hypertext document collection such as the Internet, there has also been great interest in extending these approaches to hypertext [6, 9]. These approaches typically model links in an analogous fashion to how they model words - the document-link co-occurrence matrix is modeled in the same way that the document-word co-occurrence matrix is modeled in standard topic models. In this paper we present a probabilistic generative model for hypertext document collections that explicitly models the generation of links. Specifically, links from a word w to a document d depend directly on how frequent the topic of w is in d, in addition to the in-degree of d. We show how to perform EM learning on this model efficiently. By not modeling links as analogous to words, we end up using far fewer free parameters and obtain better link prediction results.